Компанія Google у травні подала патентну заявку на «взуття для віртуальної реальності», пише The Verge.
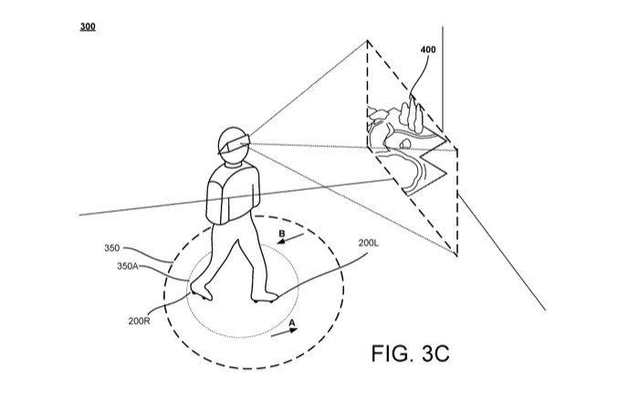
Заявку опублікувало Бюро з патентів і товарних знаків США. Черевики виглядають як пара роликових ковзанів із біговими доріжками замість коліс. Щоб ними користуватися, необхідно вдягнути VR-шолом і увійти до віртуального простору.
Завдяки гнучкій конструкції людина може вільно ходити, але вбудовані у черевики доріжки повертають її у початкове положення. Таким чином користувач зможе проходити нескінченну відстань у віртуальній реальності, фізично перебуваючи в невеликому приміщенні.
При цьому видання зазначає, що доріжки можуть не збігатися з ходою користувача, а самі черевики — втрачати синхронізацію один з одним. The Verge також підкреслює, що існування патенту не означає, що Google почне виробництво подібного пристрою.
- На початку жовтня компанія Google представила свої нові флагмани: смартфони Pixel 3 і Pixel 3 XL.
- Пізніше у Google спростили управління конфіденційною інформацію для користувачів. Тепер переглянути та видалити свої запити можна просто зі сторінки пошуку.